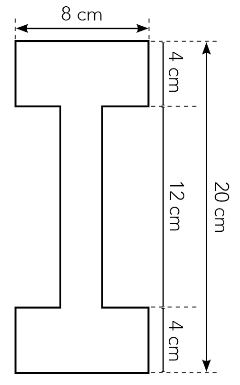
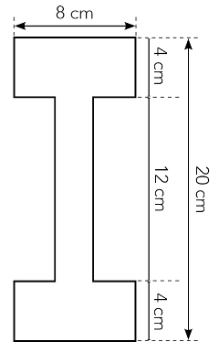
The H 20 wood formwork beam is a 20 cm high solid-web beam with a resistant protective cap system.
The sturdy plastic cap prevents premature splintering at the exposed ends.
The 3-layer spruce wood construction, guarantees an above-average service life.
| Technical information | |
| Beam height: | 20 cm |
| Permissible transverse force: | 11,0 kN |
| Permissible supporting force: | 22 kN |
|
Permissible bending moment: |
5,0 kNm
|
| Specific weight: | 4,6 kg/m |
| Height of flanges: | 4 cm |



Sales Manager Formwork
M: +41 (0)71 886 06 20
martin.tobler@tobler-ag.com
Sales field service Formwork
AR, AI, GR, SG, TI, FL
T: +41 (0)71 886 06 06
schalung@tobler-ag.com
Sales field service Formwork
BL, BS, JU, NE, SO
M: +41 79 102 05 74
eders.dici@tobler-ag.com
Sales field service Formwork
VD, GE, FR, VS, BE
French-speaking region
T: +41 (0)79 220 99 97
patrice.eggermann@tobler-ag.com
Sales field service Formwork
VS, ZG, UR, OW, NW, LU
M: +41 (0)76 248 66 39
raphael.helfenstein@tobler-ag.com
Sales field service Formwork
AG, BE, GL, SH, SZ, TG, ZH
M: +41 (0)76 387 40 89
jonatan.artiles@tobler-ag.com
CEO
T: +41 (0)71 886 06 20
martin.tobler@tobler-ag.com
Key Account Manager & Sales Manager Germany
gzim.dermaku@tobler-ag.com